§ 1. Результирующее поле n одинаковых осцилляторов
Настоящая глава — непосредственное продолжение предыдущей, хотя название «Интерференция» здесь заменено словом «Дифракция». До сих пор никому не удалось удовлетворительным образом определить разницу между дифракцией и интерференцией. Дело здесь только в привычке, а существенного физического различия между этими явлениями нет. Единственное, что можно сказать по этому поводу,— это следующее: когда источников мало, например два, то результат их совместного действия обычно называют интерференцией, а если источников много, то чаще говорят о дифракции. Поэтому мы не будем утруждать себя вопросом — интерференция это или дифракция, а просто продолжим наше обсуждение с того места, где мы остановились в предыдущей главе.
Обсудим теперь случай, когда имеется n осцилляторов, расположенных на равных расстояниях один от другого и обладающих равными амплитудами, но разными фазами создаваемых ими полей. Разность фаз создается либо из-за выбора определенных фазовых сдвигов колебаний осцилляторов, либо потому, что мы находимся под углом к осцилляторам и возникает разность хода лучей. Независимо от причины возникновения разности фаз необходимо вычислить сумму такого вида:

где ? — разность фаз соседних осцилляторов для некоторого направления лучей. В данном частном случае ?=?+2?d1/?sin?. Вычислим сумму R. Для этого воспользуемся геометрическим способом сложения. Длина первого слагаемого А, а его фаза равна нулю; длина второго также А, а фаза его равна ?. Следующее слагаемое имеет снова длину А и фазу, равную 2?, и т. д. В конце концов получается часть правильного многоугольника с n сторонами (фиг. 30.1).

Фиг. 30.1. Результирующая амплитуда шести аквидистантных источников при разности фаз ? между каждыми двумя соседними источниками.
Вершины многоугольника лежат, конечно, на окружности, и чтобы легче было определить результирующую амплитуду, найдем радиус этой окружности. Пусть Q есть ее центр. Тогда угол OQS равен как раз фазе ? (поскольку радиус QS образует с А2 такой же угол, как QO с A1). Следовательно, радиус r должен удовлетворять равенству А=2rsin?/2, откуда мы и находим величину r. Далее, большой угол OQT равен n?; следовательно, AR=2rsinn?/2. Исключая из обоих равенств r, получаем
(30.2)
Таким образом, суммарная интенсивность оказывается равной
(30.3)
Проанализируем это выражение и обсудим вытекающие из него следствия. Прежде всего, положив n=1, получим, как и следовало ожидать, I=I0. Проверим формулу для n=2: с помощью соотношения sin?=2sin ?/2cos?/2 сразу находим АR=2Acos?/2, что совпадает с (29.12).
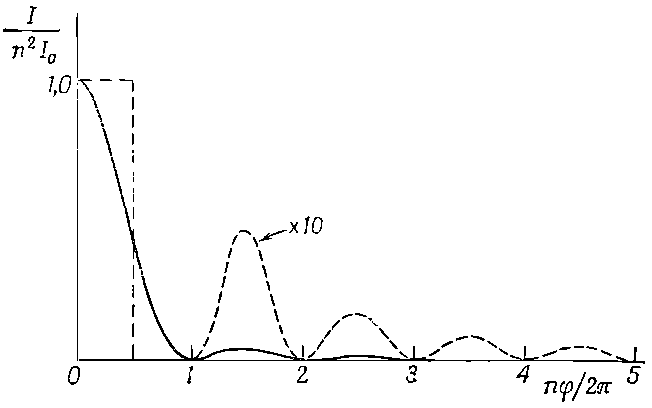
Мы вынуждены рассматривать сложение полей от многих источников потому, что в этом случае интенсивность в одном направлении получается много больше, чем в соседних, т. е. все побочные максимумы интенсивности оказываются гораздо меньше основного. Чтобы понять этот факт, начертим кривую соответствующую выражению (30.3) для больших n и ?, близких к нулю. Прежде всего, когда ? точно равно нулю, мы получаем отношение 0/0, но фактически для бесконечно малых ? отношение синусов равно n2, так как синус можно заменить его аргументом. Таким образом, максимум кривой в n2 раз больше интенсивности одного осциллятора. Этот результат легко понять, поскольку при нулевой разности фаз все n маленьких векторов складываются в один вектор, в n раз больший исходного, а интенсивность увеличивается в n2 раз.
С ростом фазы ? отношение двух синусов падает и обращается в нуль в первый раз при n?/2=?, поскольку sin?=0. Другими словами, значение ?=2?/n отвечает первому минимуму кривой (фиг. 30.2). С точки зрения векторов на фиг. 30.1 первый минимум возникает в том случае, когда стрелки векторов возвращаются в исходную точку, при этом полная разность фаз от первого до последнего осциллятора равна 2?.
Перейдем к следующему максимуму и покажем, что он действительно, как мы и ждали, много меньше первого. Для точного определения положения максимума необходимо учитывать, что и числитель, и знаменатель в (30.3) оба меняются с изменением ?. Мы не станем этого делать, поскольку при большом n sin?/2 меняется медленнее sin?/2 и условие sin?/2=1 дает положение максимума с большой точностью. Максимум sin2n?/2 достигается при n?/2=З?/2 или ?=З?/n. Это означает, что стрелки векторов описывают полторы окружности.
Подставляя ?=3?/n, получаем sin23?/2=1 в числителе (30.3) (с этой целью и был выбран угол ?) и sin23n/2n в знаменателе. Для достаточно большого n можно заменить синус его аргументом: sin 3?/2n=3?/2n. Отсюда интенсивность во втором максимуме оказывается равной I=I0(4n2/9?2). Но n2I0 — не что иное, как интенсивность в первом максимуме, т. е. интенсивность второго максимума получается равной 4/9?2 от максимальной, что составляет 0,047, или меньше 5%! Остальные максимумы, очевидно, будут еще меньше. Таким образом, возникает очень узкий основной максимум и очень слабые дополнительные максимумы по обе стороны от основного.
Можно показать, что площадь под кривой интенсивности, включая все максимумы, равна 2?nI0 и в два раза превышает площадь пунктирного прямоугольника на фиг. 30.2.

Фиг. 30.2. Зависимость интенсивности от фазового угла для большого числа осцилляторов с одинаковыми амплитудами.
Посмотрим теперь, что дает формула (30.3) в приложении к разным случаям. Пусть источники расположены на одной линии, как показано на фиг. 30.3.

Фиг. 30.3. Устройство из n одинаковых осцилляторов, расположенных на линии. Фаза колебания s-го осциллятора равна as=sa.
Всего имеется n источников на расстоянии d друг от друга, и сдвиг фазы между соседними источниками выбран равным ?. Тогда для лучей, распространяющихся в заданном направлении ?, отсчитываемом от нормали, вследствие разности хода лучей от двух соседних источников возникает дополнительный сдвиг фазы 2?d(1/?)sin?. Таким образом,
(30.4)
Рассмотрим сначала случай ?=0. Все осцилляторы колеблются с одной фазой; требуется найти интенсивность их излучения как функцию угла ?. Подставим с этой целью ?=kdsin? в формулу (30.3) и посмотрим, что получится в результате. Прежде всего при ?=0 возникает максимум. Значит, осцилляторы, колеблющиеся с одной фазой, дают мощное излучение в направлении ?=0. Интересно узнать, где находится первый минимум.
Он возникает при ?=2?/n; другими словами, первый минимум кривой интенсивности определяется из соотношения (2?d/?)sin?=2?/n. Сокращая на 2?, получаем
(30.5)
Теперь разберем с физической точки зрения, почему минимум возникает именно в этом месте. В этом выражении nd есть полная длина L нашей системы осцилляторов. Обращаясь к фиг. 30.3, мы видим, что ndsin?=Lsin?=?. Формула (30.5) подсказывает нам, что минимум возникает при ?, равном одной длине волны. Но почему минимум получается при ?=?? Дело в том, что поля от отдельных осцилляторов равномерно распределены по фазе от 0 до 360°. Стрелки (см. фиг. 30.1) описывают полную окружность; мы складываем равные векторы, имеющие произвольные направления, а в этом случае сумма равна нулю. Вот при таких значениях угла, когда ?=?, возникает минимум. Это и есть первый минимум.
Формула (30.3) имеет еще одну важную особенность: при увеличении угла ? на число, кратное 2?, значение интенсивности не меняется. Поэтому для ?=2?, 4?, 6? и т. д. также возникают резкие и высокие максимумы. Вблизи этих максимумов интенсивность повторяет свой ход (см. фиг. 30.2). Зададимся вопросом, в силу каких геометрических соотношений возникают другие максимумы? Условие появления максимума записывается в виде ?=2?m, где m — любое целое число. Отсюда получаем (2?d/?)sin?=2?m. Сокращая на 2?, получаем
(30.6)
Это соотношение очень похоже на формулу (30.5). Однако там было ndsin?=?. Разница в том, что здесь нужно взять каждый отдельный источник и выяснить, что для него означает условие dsin?=m?; угол ? здесь таков, что разность хода ?=m?. Другими словами, волны, идущие от источников, различаются по фазе на величину, кратную 360°, и, следовательно, все находятся в фазе. Поэтому при сложении волн возникает столь же высокий максимум, как и в рассмотренном ранее случае m=0. Побочные максимумы и весь ход интенсивности здесь такие же, как в случае ?=0. Таким образом, наша система посылает пучки лучей в разных направлениях, причем каждый пучок имеет высокий центральный максимум и ряд слабых боковых. Главные (центральные) максимумы в зависимости от величины m называются максимумами нулевого, первого и т. д. порядков; m называют порядком максимума.
Обратите внимание на такой факт: если d меньше ?, то формула (30.6) имеет единственное решение при m=0. Поэтому для малого расстояния между источниками возникает один-единственный пучок, сконцентрированный около ?=0. (Разумеется, есть еще пучок в обратном направлении.) Чтобы получить максимумы других порядков, расстояние d должно быть больше одной длины волны.
Более 800 000 книг и аудиокниг! 📚
Получи 2 месяца Литрес Подписки в подарок и наслаждайся неограниченным чтением
ПОЛУЧИТЬ ПОДАРОК